关于印发《规划环境影响跟踪评价技术指南(试行)》的通知
各省、自治区、直辖市生态环境厅(局),新疆生产建设兵团生态环境局,各有关单位:
为贯彻落实《中华人民共和国环境影响评价法》和《规划环境影响评价条例》,规范并指导规划环境影响跟踪评价工作,我部组织制定了《规划环境影响跟踪评价技术指南(试行)》。现印发给你们,请参考执行。
生态环境部办公厅
2019年3月8日
抄送:发展改革委、科技部、工业和信息化部、自然资源部、住房城乡建设部、交通运输部、水利部、商务部、海洋局、铁路局、民航局综合司(办公厅、办公室),各派出机构、直属单位。
生态环境部办公厅2019年3月8日印发
规划环境影响跟踪评价技术指南
( 试行)
生态环境部
2019年3月
1 总则
1.1 适用范围
《中华人民共和国环境影响评价法》和《规划环境影响评价条例》中规定的各类综合性规划和专项规划实施后可能对生态环境有重大影响的,规划编制机关可参照本指南及时开展规划环境影响的跟踪评价。
1.2 评价目的
以改善区域环境质量和保障区域生态安全为目标,规划编制机关结合区域生态环境质量变化情况、国家和地方最新的生态环境管理要求和公众对规划实施产生的生态环境影响的意见,对已经和正在产生的环境影响进行监测、调查和评价,分析规划实施的实际环境影响,评估规划采取的预防或者减轻不良生态环境影响的对策和措施的有效性,研判规划实施是否对生态环境产生了重大影响,对规划已实施部分造成的生态环境问题提出解决方案,对规划后续实施内容提出优化调整建议或减轻不良生态环境影响的对策和措施。
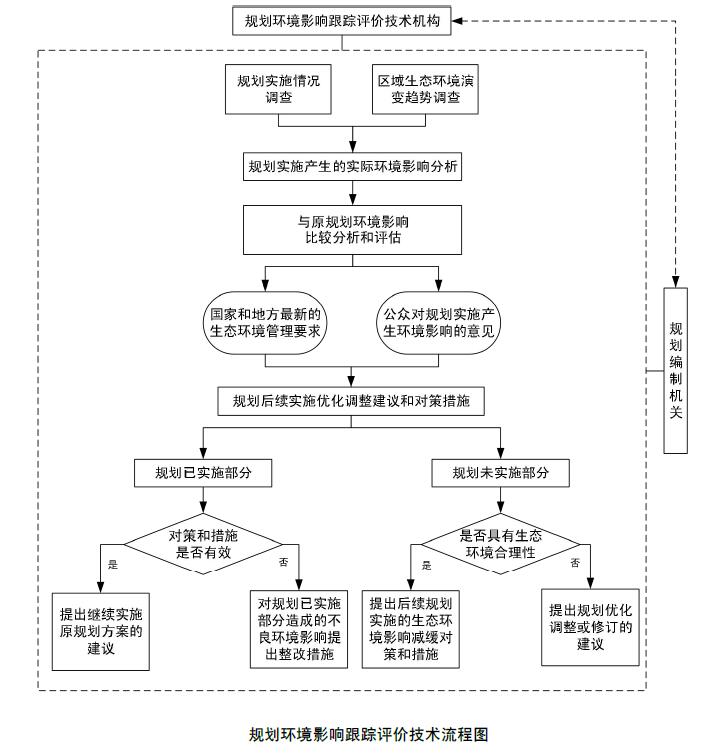
1.3 工作程序
(1)通过调查规划实施情况、受影响区域的生态环境演变趋势,分析规划实施产生的实际生态环境影响,并与环境影响评价文件预测的影响状况进行比较和评估。
(2)对规划已实施部分,如规划实施中采取的预防或者减轻不良生态环境影响的对策和措施有效,且符合国家和地方最新的生态环境管理要求,可提出继续实施原规划方案的建议。如对策和措施不能满足国家和地方最新的生态环境管理要求,结合公众意见,对规划已实施部分造成的不良生态环境影响提出整改措施。
(3)对规划未实施部分,基于国家和地方最新的生态环境管理要求或必要的影响预测分析,提出规划后续实施的生态环境影响减缓对策和措施。如规划未实施部分与原规划相比在资源能源消耗、主要污染物排放、生态环境影响等方面发生了较大的变化,或规划后续实施不能满足国家和地方最新的生态环境管理要求,应提出规划优化调整或修订的建议。
(4)跟踪评价工作成果应与规划编制机关进行充分衔接和互动。
规划环境影响跟踪评价技术流程见下图。

2 规划实施及开发强度对比
2.1 规划实施情况
说明规划实施背景,对比规划并结合图表说明规划已实施的主要内容,包括空间范围、布局、结构与规模等,说明其变化情况、变化原因,并明确规划是否实施完毕。
2.2 开发强度对比
(1)对比规划和规划环评确定的发展目标,说明规划实施过程中支撑性资源(如水资源、土地资源、海洋资源、岸线资源等)和能源的消耗量或利用量。分析规划已实施部分的资源能源利用效率及其变化情况。
(2)以产业发展为重点的规划,对比规划及规划环评推荐情景,重点说明规划实施过程中主要污染物排放情况,包括污染源分布、污染物种类、排放强度及其变化情况;以资源开发利用为重点的规划,重点说明规划实施对区域、流域生态系统的结构、功能及受保护关键物种的影响范围和程度及其变化情况,对重要生境的占用或改变情况。
(3)回顾规划实施至开展跟踪评价期间的突发环境事件及其发生的原因、采取的应急措施及效果,说明规划的生态环境风险防范措施和应急响应体系实施及其变化情况。
2.3 环境管理要求落实情况
(1)对比开展规划环评时的各项生态环境?;ひ螅òü婊⒐婊菲兰吧蟛橐饧囊螅?,说明规划在落实空间管控、污染防治、生态修复与建设、生态补偿等方面以及区域或流域联防联控等生态环境影响减缓对策和措施的实施情况,包括对规划环评及审查意见提出的规划优化调整建议的采纳和执行情况、规划实施区域内具体建设项目落实生态环境准入要求(如资源利用效率、污染物排放管控、污染防治措施、开发建设时序、生态环境风险防控和生态保护修复等)的情况。
(2)对比开展跟踪评价时国家和地方最新的生态环境管理要求,特别是区域“生态保护红线、环境质量底线、资源利用上线和生态环境准入清单”(即“三线一单”)管控要求,分析规划与其的符合性。
(3)说明规划包含的建设项目(包括已建、在建和拟建)环境影响评价、竣工环保验收、排污许可证等制度执行情况。说明规划实施区域环境管理及监测体系(特别是规划环评提出的定期监测计划)的落实情况、运行效果及存在的问题。
3 区域生态环境演变趋势
3.1 生态环境质量变化趋势分析
3.1.1 环境质量变化趋势分析
(1)结合国家和地方最新的生态环境管理要求,综合区域、流域社会经济发展趋势及生态环境敏感区的变化情况分析,评价区域、流域大气、水(包括地表水、地下水及海洋)、土壤、声等环境要素的质量现状和变化趋势。
(2)环境质量调查以收集规划实施中的定期监测结果和区域、流域的例行监测资料为主,也可利用区域其他已有监测资料。若已有资料不能满足需要,可适当开展补充调查和监测。监测因子及点位的选择遵循以下原则。
①监测布点和监测因子尽可能与规划环评开展的环境质量监测衔接;
②结合规划实施状况、污染源位置、流域水文情势、区域气象特征以及规划实施后生态环境敏感区变化情况适当增减点位;
③根据国家和地方最新的生态环境管理要求和规划实施情况,补充特征污染物的监测。
3.1.2 生态系统结构与功能变化趋势分析
对区域、流域开发等规划,调查区域、流域生态系统及生态环境敏感区状况,结合规划环评阶段的本底调查、规划实施期间的跟踪调查及相关项目环境影响后评价等,评价区域、流域生态系统的变化趋势和关键驱动因素。对产业园区等规划,结合区域生态?;ず煜吖芸匾螅治銮蚰谏肪趁舾星纳肪持柿肯肿春痛嬖诘奈侍狻?/span>
3.2 资源环境承载力变化分析
调查区域为保障规划实施提供的支撑性资源(包括水资源、土地资源、海洋资源、岸线资源等)和能源的配置情况。对比实际利用情况,结合区域资源能源利用上线,分析区域、流域资源环境承载力存在的问题及其与规划实施的关联性。
4 公众意见调查
(1)征求相关部门及专家意见,全面了解区域主要环境问题和制约因素。
(2)收集规划实施至开展跟踪评价期间,公众对规划产生的环境影响的投诉意见,并分析原因。
5 生态环境影响对比评估及对策措施有效性分析
5.1 规划已实施部分环境影响对比评估
以规划实施进度、区域或流域生态环境质量变化趋势以及资源环境承载力变化分析为基础,对比评估规划实际产生的生态环境影响范围、程度和规划环评预测结论,若差异较大,需深入分析原因。
5.2 环保措施有效性分析及整改建议
如规划、规划环评及审查意见提出的各项生态环境?;ざ圆吆痛胧┮崖涫?,且规划实施后区域、流域生态环境质量满足国家和地方最新的生态环境管理要求,则可认为采取的预防或者减轻不良生态环境影响的对策和措施有效,可提出继续实施原规划方案的建议。
如规划实施后区域、流域生态环境质量突破底线要求,则可认为规划已实施部分的环保对策和措施没有发挥效果或效果不佳,跟踪评价应认真分析规划环境影响评价文件预测结果与实际影响产生差异的原因,从空间布局优化、污染物排放控制、环境风险防范、区域污染治理、流域生态?;?、环境管理水平提升等方面提出有针对性的规划优化调整目标、减轻不良环境影响的对策措施或规划修订建议。
(1)如规划已实施部分未按规划、规划环评及审查意见要求,落实预防或减轻不良生态环境影响的对策和措施,或对策和措施不合理,导致区域、流域生态环境质量不能达到要求或生态环境功能降低,则应针对规划已实施部分造成的生态环境影响提出明确的整改措施要求。
(2)如因国家或地方提升生态环境管理要求,或区域、流域社会经济发生变化,导致生态环境质量突破底线、生态环境功能降低,则需对规划已实施部分采取的预防或减轻不良生态环境影响的对策和措施提出改进建议。
(3)若规划未按规划方案实施,导致规划、规划环评及审查意见提出的要求无法落实,则需重新提出预防或减轻不良环境影响的对策和措施。
6 生态环境管理优化建议
6.1 规划后续实施开发强度预测
(1)结合图表说明规划后续实施的空间范围和布局、发展规模、产业结构、建设时序和配套基础设施依托条件等规划内容。
(2)在叠加规划实施区域在建项目的基础上,分情景估算规划后续实施对支撑性资源能源的需求量和主要污染物的产生量、排放量,分析规划实施的生态环境影响范围、程度和生态环境风险。对区域、流域开发等空间尺度较大规划,还要分析区域主要生态因子的变化情况,包括流域水文情势、生物量、植被覆盖率、受?;す丶镏质苡跋旆段Ш统潭燃爸匾车恼加没蚋谋淝榭觥?/span>
6.2 生态环境影响减缓对策措施和规划优化调整建议
根据规划已实施情况、区域资源环境演变趋势、生态环境影响对比评估、生态环境影响减缓对策和措施有效性分析等内容,结合国家和地方最新生态环境管理要求,提出规划优化调整或修订的建议。
(1)若规划已实施部分采取的生态环境影响减缓对策和措施有效,经对规划后续实施内容的环境影响进行必要的预测分析后,区域、流域资源环境基本可接受,则从空间布局、污染物排放、环境风险防范、资源能源利用等方面,提出生态环境管控要求和生态环境准入清单,明确不良生态环境影响减缓对策和措施。
(2)经过综合论证,如规划后续实施内容缺乏环境合理性,特别是存在以下情形的,应提出规划优化调整或修订的建议,并应及时重新开展规划环境影响评价工作。
①发展定位、发展目标与国家或地方最新的生态环境管理要求不符。
②与规划原方案相比在规模、结构、布局、时序等方面发生了较大的变化,采取最严格的生态?;ず臀廴痉乐未胧┖螅蚧蛄饔虻淖试从牖肪橙晕薹ㄖС殴婊凳?,可能造成重大的生态破坏或环境污染,导致区域生态环境管理要求无法实现。
7 评价结论
评价结论是对跟踪评价工作成果的归纳和总结,应明确、简洁、清晰。
在评价结论中应重点明确以下内容。
(1)规划在实施过程中的变化情况、变化原因,实施中采取的生态环境影响减缓对策和措施的合理性和有效性。
(2)区域或流域生态环境质量现状及变化趋势、资源环境承载力的变化情况。结合国家、地方最新的生态环境管理要求和公众意见,对规划已实施部分造成的生态环境问题提出解决方案。
(3)对未实施完毕的规划,说明规划后续实施内容的生态环境合理性,对规划后续实施内容提出优化调整建议或减轻不良生态环境影响的对策和措施。